HSS-E Maschinen-Gewindebohrer 21368-M18X1.5
Walter Prototyp
129,00 €
Produktnummer:
WA-5077573
Verfügbar - Mindestbestellmenge: 1 PCE
Für lang- und kurzspanende Werkstoffe
| P | M | K | N | S | H | O | |
|---|---|---|---|---|---|---|---|
| 1 21368 |
Produktinformationen "HSS-E Maschinen-Gewindebohrer 21368-M18X1.5"
HSS-E Maschinen-Gewindebohrer • Paradur® H • kurzer Anschnitt • ≤1,5xD • MF/6H • DIN 374 • gerade Nut 0° • geeignet für Grundloch • geeignet für Durchgangsbohrung • MF 18x1.5 • P=1,5mm
| Beschreibung | Name | Wert |
|---|---|---|
| Werkzeugbezeichnung | Bezeichnung | 21368 |
| Spannbreite | Spannbreite | 11 mm |
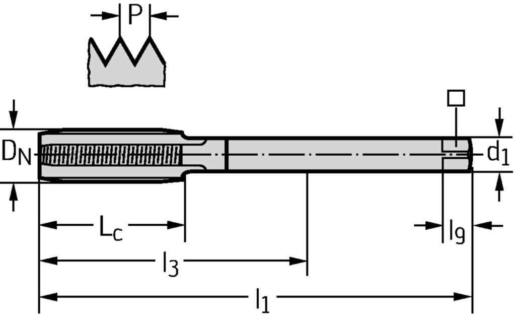
| Gewindegröße | DN | MF 18x1.5 |
| Gewindelänge | Lc | 24 mm |
| Anzahl Nuten | N | 4 |
| Gewindesteigung | P | 1,5 mm |
| Verbindungsdurchmesser | d1 | 14 mm |
| Funktionale Länge | l1 | 110 mm |
| Nutzlänge | l3 | 66 mm |
| Vierkantlänge | l9 | 14 mm |
Downloads (externe Links zu Dokumenten)
Technische Daten und Spezifikationen
| Beschreibung | Name | Wert |
|---|---|---|
| Nach TAPCCYLF - Cutting tap for cylindrical threads - chip flutes | ||
| Werkzeugausführung | BMC | S |
| Trennstellenkodierung Maschinenseitig | CCMS | ZYL21G1400h$09 |
| Kühlschmierstoff-Eintritt | CNSC | 0 |
| Beschichtung / Oberfläche | COATING | unbeschichtet |
| Aufnahmeeinheit | CUB | M |
| Aufnahmeeinheit Genauigkeit maschinenseitig | CUBPMS | G |
| Kühlschmierstoff-Austritt | CXSC | 0 |
| Aufnahmegröße, maschinenseitig | CZCMS | 140 |
| Halsdurchmesser | DN | 13,7 |
| Drallwinkel | FHA | 0 |
| Drallrichtung | FHH | N |
| Formtyp maschinenseitig | FMT | EXT |
| Seitenspanwinkel | GAMF | 11,5 |
| Führungselemente | GEP | 0 |
| Schneidstoffbezeichnung des Herstellers | GRADE | UNBESCHICH |
| Normbezeichnung des Schneidstoffes, Hauptanwendung | GRDPRIO | - |
| Winkellage, Aufnahme, werkstückseitig | KAP | 0 |
| Spannutenlänge | LCF | 47 |
| Funktionslänge | LF | 110 |
| Schaftlänge | LS | 33 |
| Spannlänge | LSC | 44 |
| Nutzlänge | LU | 66 |
| Anzahl Schneiden | NOF | 4 |
| Nachschleifrestmenge | OAL | 110 |
| Rotationswinkel phi | PHI | 0 |
| Rotationswinkel rho | RHO | 0 |
| Drehzahl, max. | RPMX | 5000 |
| Normnummer | STDNO | DIN 374 |
| Gewindetoleranzklasse | TCTR | 6H |
| Gewindenenndurchmesser, metrisch | TD | 18 |
| Kegelverhältnis | TG | 0 |
| Schneidrichtung | THDH | L |
| Gewindeart | THFT | MF |
| Gewindelänge | THL | 24 |
| Anzahl Gewindegänge | THSTS | 1 |
| Gewindesteigung | TP | 1,5 |
| Bildkennung | TSYC | 21368 |
| Außen-/Innengewinde | TTP | I |
| Werkzeugart | TTPID | 1 |
| Durchmesserlängenverhältnis | ULDR | 1 |
| Masse (Gewicht) | WT | 0,127 |
| Abstand XY-Ebene werkstückseitig | XYWD | -110 |
| Abstand XZ-Ebene werkstückseitig | XZWD | 0 |
| Abstand YZ-Ebene werkstückseitig | YZWD | 0 |
| Nach DIN4000-80-1 - Gewindebohrer mit abgesetztem Schaft | ||
| Gewindeart | A1 | MF |
| Gewindenenndurchmesser, metrisch | A21 | 18 mm |
| Gewindebezeichnung, außen | A25 | MF 18x1.5 |
| Gewindesteigung | A3 | 1,5 mm |
| Gewindetoleranzklasse | A5 | 6H |
| Anschnittdurchmesser | A6 | 16,43 mm |
| Halsdurchmesser | A9 | 13,7 mm |
| Gewindelänge | B1 | 24 mm |
| Nachschleifrestmenge | B3 | 110 mm |
| Anschnittlänge | B4 | 4,2 mm |
| Spannutenlänge | B8 | 47 mm |
| Bildkennung | BLD | 1 |
| Aufnahmetyp, maschinenseitig | C11 | ZYL |
| Aufnahmeform, maschinenseitig | C12 | 21 |
| Aufnahmeausführung, maschinenseitig | C14 | 0 |
| Aufnahmeart, maschinenseitig | C15 | 5 |
| Aufnahmegröße, maschinenseitig | C2 | 140 |
| Aufnahmedurchmesser, maschinenseitig | C3 | 14 mm |
| Aufnahmedurchmesser, maschinenseitig, ISO-Toleranzklasse | C31 | h9 |
| Schaftlänge | C4 | 33 mm |
| Anzahl Schneiden | D1 | 4 |
| Drallrichtung | D2 | N |
| Drallwinkel | D3 | 0 ° |
| Masse (Gewicht) | D7 | 0,127 kg |
| Schneidrichtung | F1 | L |
| Werkzeugart | G21 | 1 |
| Anschnittform | G3 | C |
| Normbezeichnung des Schneidstoffes, Hauptanwendung | H11 | - |
| Kühlschmierstoff-Eintritt | H21 | 0 |
| Kühlschmierstoff-Austritt | H22 | 0 |
| Schneidstoffbezeichnung des Herstellers | H3 | UNBESCHICH |
| Werkzeugausführung | H4 | S |
| Beschichtung / Oberfläche | H5 | unbeschichtet |
| Normnummer | J1 | DIN 374 |
| Identifizierende Bestellnummer | J21 | 21368-M18X1.5 |
| Produktbezeichnung | J22 | 274 |
| Firmenkennung | J3 | W |
| Trennstellenkodierung Maschinenseitig | J6 | ZYL21G1400h$09 |
| Datenträger | J7 | 0 |
| Bearbeitungsverfahren | J8 | EGI |
| Normnummer Sachmerkmal | NSM | DIN4000-80 |
| Kraglänge | OVERHANG_LENGTH | 66 mm |